多流束旋翼濕式防滴漏冷水表LXS-(15~20)E[D]
防滴漏水表和普通水表不同之處在于防滴漏水表內部裝有自重閥、葉輪盒上有一節流孔。當用戶在正常流量范圍內用水時水流沖開自重閥,水通過自重閥,流經葉輪盒進水孔多點沖擊葉輪,驅動葉輪旋轉,從而實現對流量的準確計量。當流量低于某一水流能量(如2L/h),水流能量不足以克服自重閥重力,而自重閥關閉時,水流通過葉輪盒上節流孔推動葉輪轉動從而開始計量水量。
☆ 量程大 高靈敏度
☆ 性能曲線穩定
☆ 傳動性能穩定可靠
☆ 內部濾網,擁有充分的過濾面積。
☆ 壓力損失小
工作條件:
☆ 水壓:不大于1.0MPa(10bar)
☆ 水溫:0.1℃~50℃
示值誤差:
☆ 從分界流量到過載流量為±2%;
☆ 從最小流量到分界流量(不包括分界流量)為±5%.
始動流量
公稱口徑15mm和20mm: ≤2L/h
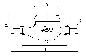
參數尺寸 SPECIFICATION AND OVERAL DIMENSIONS
外形尺寸 OVERALL DIMENSIONS

壓力損失曲線 Pressure loss curve 示值誤差限與流量曲線FLOW-ERROR CURVE