多流束旋翼干式冷水表(銅殼)DS04TAR-(15~50)E/H
用途:用來記錄流經自來水管道冷水的總量, 適宜家庭使用。
工作條件:
★ 水壓:不大于1.0MPa(10bar)
★ 水溫:不超過30℃
特點:
★ 量程大 精確度高。
★ 性能曲線穩定。
★ 采用優質耐蝕材料,使用壽命長。
★ 傳動性能穩定可*。
★ 防磁結構。
★ 壓力損失小。
★ 抽真空的計數器,表玻璃不被霧化。
示值誤差:
從分界流量到過載流量為±2%;
從最小流量到分界流量(不包括分界流量)為±5% 。
本水表技術參數符合國際標準ISO 4064 規定,并取得質量體系ISO 9001認證。
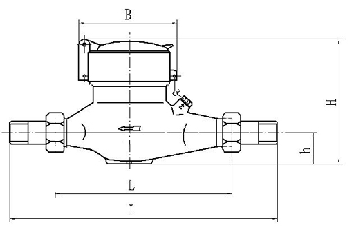
參數尺寸 SPECIFICATION AND OVERALL DIMENSIONS
名稱 Description
|
單位
Unit
|
技術參數與尺寸
HYDRAULIC DATA AND DIMENSIONS
|
公稱口徑
Nominal size
|
mm
|
15
|
20
|
25
|
32
|
40
|
50
|
inch
|
1/2
|
3/4
|
1
|
11/4
|
11/2
|
2
|
過載流量(Q4)Overload flowrate
|
m3/h
|
3.125
|
5
|
7.875
|
12.5
|
20
|
31.25
|
常用流量(Q3)Permanent flowrate
|
m3/h
|
2.5
|
4
|
6.3
|
10
|
16
|
25
|
分界流量(Q2)Transitional flowrate
|
l/h
|
50
|
80
|
126
|
200
|
320
|
500
|
最小流量(Q1)Minimum flowrate
|
l/h
|
31.3
|
50
|
78.8
|
125
|
200
|
312.5
|
最小讀數 Min. reading
|
l
|
0.05
|
0.05
|
0.05
|
0.05
|
0.05
|
0.05
|
最大讀數 Max. reading
|
m3
|
99999
|
99999
|
99999
|
99999
|
999999
|
999999
|
最大工作壓力 MAP
|
MPa
|
1.0
|
1.0
|
1.0
|
1.0
|
1.0
|
1.0
|
壓力損失 ΔP at the Q3
|
MPa
|
< 0.063
|
< 0.063
|
< 0.063
|
< 0.063
|
< 0.063
|
< 0.063
|
L
|
mm
|
165
|
190
|
260
|
260
|
245
|
300
|
300
|
I
|
mm
|
245
|
292
|
380
|
384
|
373
|
428
|
428
|
H
|
mm
|
99
|
106
|
111
|
111
|
170
|
170
|
h
|
mm
|
23.5
|
27
|
29
|
29
|
65
|
65
|
B
|
mm
|
90
|
90
|
90
|
90
|
130
|
130
|
重量
Weight
|
不帶連接件
Without connections
|
Kg
|
0.93
|
1. 19
|
1.69
|
2.02
|
3.3
|
5.21
|
3.5
|
帶連接件
With connections
|
1.10
|
1.46
|
2.12
|
2.74
|
4.25
|
6.50
|
4.45
|
外形尺寸 OVERALL DIMENSIONS
流量誤差曲線 FLOW-ERROR CURVE 壓力損失曲線 PRESSURE LOSS CURVE
