多流旋翼液封式光電直讀冷水表LXSY-(15~20)E/F
用途:本系列水表是用來記錄流經自來水管道飲用水的體積總量的測量儀表。適用于單向水流,對于有腐蝕性的液體不能使用。該類型是一種旋翼式多流液封水表,字輪密封在特殊的液體中且有一個可靠的壓力補償裝置。直讀技術,直接輸出表盤數據,無需外部供電。
☆無源直讀,遠程抄表,讀數可靠
☆密封計數器
☆精確度高
☆壓力損失小
☆傳動性能穩定可靠
☆采用優質耐蝕材料,使用壽命長
工作條件:
水壓:不大于1.0MPa(10bar)
水溫:0.1℃~50℃
示值誤差:
從分界流量到過載流量為±2%;從最小流量到分界流量(不包括分界流量)為±5%.
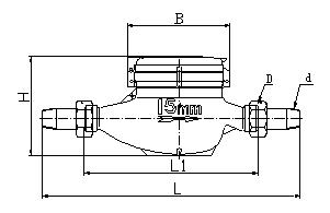
參數尺寸 SPECIFICATION AND OVERAL DIMENSIONS

外形尺寸 OVERALL DIMENSIONS
壓力損失曲線 Pressure loss curve 示值誤差限與流量曲線FLOW-ERROR CURVE